2016年歇業「金銀島購物中心」原本地主為台糖公司,原址在2022年一分為二,由三地攜手清景麟以43.11億元,換算每坪地價84.58萬元取得5097坪住五土地,並規劃2期造鎮案,首期「AI慕光城」社區1108戶,規劃地上24樓,地下5樓,社區採3大棟建築,坪數20-38坪,建築規劃、公設、景觀等均採全球知名建築團隊SCDA設計,為亞洲新灣區首場非豪宅國際建築,單案總銷200億元。

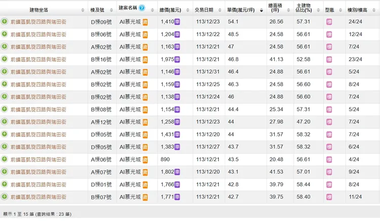
「AI慕光城」實登內容
「AI慕光城」實登內容

實價登錄每月1、11與21日揭露更新資訊,但今(10日)提早1天揭露訊息,據了解為廠商設定出錯,導致全台實登揭露提早1天,也讓高雄史上最大造鎮案「AI慕光城」房價提前曝光。詢問清景麟建築團隊創辦人林聰麟表示,目前揭露均屬給員工及VVIP客戶,當中54.1萬元屬最高樓層具海景特殊戶,該案預計今年3月正式公開銷售,銷售速度符合原先預期,至於成交戶數遠高於目前實登揭露內容。

清景麟創辦人林聰麟指出,目前銷售量遠高於實登內容,建案預計3月正式公開。葉家銘攝
清景麟創辦人林聰麟指出,目前銷售量遠高於實登內容,建案預計3月正式公開。葉家銘攝

205兵工廠區段徵收未來規劃用途,高市都發局表示,廠位於中山路與凱旋路口,面積58.7公頃,現行都市計畫特貿區面積29.45公頃(50.17%)、公共設施用地(如公園、道路等)面積29.25公頃(49.83%),其中特貿區得作企業總部、大型購物中心、國際貿易及金融業等產業使用,亦符合亞灣區轉型經貿發展方向。而看好區段房市發展,除三地與清景麟將推2期建案,首期「AI慕光城」打頭陣,未來還有隆大(2期)、華友聯(2期)、慶旺、京城、浤圃(2期)等至少9場個案,市場評估總銷額突破千億元。

作者簡介

葉家銘

2012年起擔任地產記者,採訪範圍遍及雲嘉南高屏澎,經歷台灣房市高峰與低谷時期,長期鑽研房地產相關數據。


點擊閱讀下一則新聞 點擊閱讀下一則新聞
房市冷公寓房價扛不住 購屋族重心趨向蛋黃較保值抗跌