頂誠購入土地位於澄清路與自由路角窗,使用分區為住3-1用地,因衛武營都會公園首排核心就坐落在南北向澄清路與國泰路二段,東西向自由路與三多一路口,其4個角地除西南角已為衛武營國家藝術文化中心,東南角則為慈濟鳳山靜思堂,另兩個街口則為華友聯、海悅與達麗團隊,以含附買回總投資額高達362億元O10與Y18衛武營站聯開案,及最後一塊角地則被頂誠以單坪93.13萬元購入,未來興建後將成為具47公頃衛武營都會公園視野地標。

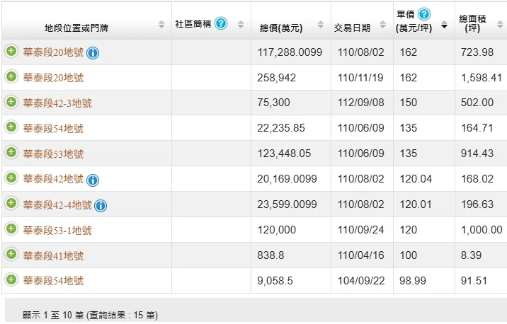
衛武營旁國泰重劃區地價實登
衛武營旁國泰重劃區地價實登

東高雄過去房市發展核心且房價最高坐落在文山特區,目前新屋單價屬坐4望5行情,然而該價格未來有很高機會將被衛武營旁國泰重劃區取代,該現象可從區段地價看出端倪,早在2021年位於議會路、議會北路分區屬商3-1分區723.98坪地,永達營造當時透過標售,以約11億7288萬元得標,換算單坪162萬元購入,創下鳳山地價新高,而整個國泰重劃區屬華泰段,目前有15筆土地成交,當中有9筆地價超過百萬元,遠高過其他區段,而當中最大私地主就屬華友聯集團。

頂誠建築團隊將推案主力放在東高雄,近期將有福安公園首排「頂誠High Line」先行銷售。葉家銘攝
頂誠建築團隊將推案主力放在東高雄,近期將有福安公園首排「頂誠High Line」先行銷售。葉家銘攝

頂誠此次整合該筆土地多位地主,為自己後續在東高雄土地庫存大幅增加,而目前公司推案佈局以即將進場,位於福安公園首排「頂誠High Line」先行銷售,該成屋案旁就是O9捷運聯開案,住宅38-56坪單層3戶,產品針對想購入具綠景視野且社區規模單純換屋客,而後續亦將動土鳳山五權南路大樓案。

華友聯與海悦及達麗取得O10與Y18衛武營站聯開案,將興建近7.3萬坪住宅,主力23-45坪,總戶數約2100戶,全案預計2033-2036年分階段完工,成為東高雄史上最大造鎮開發。葉家銘攝
華友聯與海悦及達麗取得O10與Y18衛武營站聯開案,將興建近7.3萬坪住宅,主力23-45坪,總戶數約2100戶,全案預計2033-2036年分階段完工,成為東高雄史上最大造鎮開發。葉家銘攝

高雄房屋市場調查協會榮譽理事長蔡紹豪分析,衛武營周邊可開發土地十分稀缺,以目前資料曝光較多,位於O10與Y18衛武營站聯開案為例,房價可能直接挑戰坐穩5字頭甚至邁向6字頭行情,隨著三井百貨即將完工,加上捷運黃線建置,後續將引領東高雄房市發展。

衛武營首排土地取得購置圖
衛武營首排土地取得購置圖
作者簡介

葉家銘

2012年起擔任地產記者,採訪範圍遍及雲嘉南高屏澎,經歷台灣房市高峰與低谷時期,長期鑽研房地產相關數據。


點擊閱讀下一則新聞 點擊閱讀下一則新聞
北北基桃40歲以下購屋熱區 桃園3行政區分居123名