王朝輝喊冤非負責人 沒有入股南西分店

針對外界質疑光澤診所的負責人身份,王朝輝今日首度接受媒體訪問進行澄清,強調自己並非南西分店的負責人,也未參與該診所的經營管理。他說:「我們的診所採統一品牌、獨立經營的模式,可以說是各自為個體、互不隸屬,但在律師和會計師部分有共同使用,但醫師們擁有絕對的醫療主導權。」

由於外界質疑吳宜芳「只有經歷、沒有學歷」,王朝輝進一步表示,南西店的吳宜芳醫師是他的學妹,曾在他的診所學習,後來獨立開業。「她非常優秀,是中國醫藥學院書卷獎畢業的高材生,學成後就自行創業,南西店的經營權和投資與我完全無關。」王朝輝強調,吳醫師平時還有另一間診所的工作,自己僅是以學長的身份出於情誼關心,並非外界指稱的「負責人」。

此外,王朝輝也提到,南西分店與其他光澤診所一樣,雖同屬「光澤」品牌,但各店的管理和醫療決策皆由各自負責,彼此獨立運作。他說:「我們診所不像外界以為的那樣集權管理,我沒有入股南西分店,任何醫療流程、儀器使用與決策,都是該診所自行負責。

不過,《壹蘋新聞網》稍早獨家揭露,光澤彤顏公司於2020年更名為「慶勝實業股份有限公司」,而光澤診所官網醫師名單中,有一名王朝輝醫師,且從董事變成負責人、也是超思案中被無保請回的被告,他還是亮采醫美負責人。

有醫美界人士直言,光澤診所實際負責人就是王朝輝,他也有購屋供光澤相關診所營業使用,也是對原廠窗口,但對此王朝輝強烈否認,強調共同品牌、共同行銷,但不參與其他診所經營,也非對外廠商採購之窗口。

 

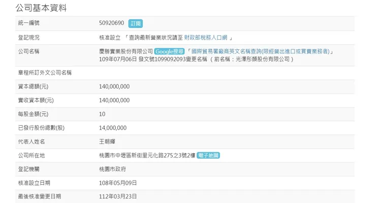
經濟部商工登記公示資料查詢服務。慶勝實業股份有限公司(統一編號50920690),代表人為王朝輝。取自經濟部商工登記公示資料查詢服務
經濟部商工登記公示資料查詢服務。慶勝實業股份有限公司(統一編號50920690),代表人為王朝輝。取自經濟部商工登記公示資料查詢服務
慶勝實業股份有限公司狀態。取自台灣公司網
慶勝實業股份有限公司狀態。取自台灣公司網

光澤診所:全力配合司法調查 呼籲外界尊重家屬隱私
光澤診所於今日上午發布聲明,表示對此事件感到十分痛心,並向逝者家屬表達最深的哀悼與誠摯的關懷。診所強調,醫療過程中雖然嚴格遵守法律及專業標準,仍存在無法預期的風險。事發後,診所立即啟動緊急應變機制,並積極配合相關單位調查,提供必要資料。光澤診所呼籲外界與媒體停止過度揣測,尊重家屬隱私,避免造成二次傷害。

吳姓醫師遭質疑 王朝輝澄清學妹背景
事發後,網路上開始出現對吳姓醫師學歷的質疑聲浪。王朝輝特別為學妹澄清,表示吳醫師畢業於中國醫藥學院,且是書卷獎得主,學經歷十分優秀,也在過去的醫美執業中展現專業能力。他說:「外界對她的學歷有所質疑,我必須說她是一位非常謹慎且專業的醫師,這次事件發生後,我也有向她表達關心和安慰,但我並非診所負責人,沒有立場過多評論。」

推薦新聞:獨家|王朝輝爽當「天后御用名醫」好幾年 王菲經紀人與好友寬姊都怒斥「子虛烏有」

超思進口蛋案 王朝輝喊冤:我是為了愛國、倒了八輩子霉

除了光澤診所的療程意外,王朝輝過去曾捲入超思進口雞蛋案,並因此遭到外界質疑。對此,王朝輝表達委屈,表示當初是為了解決國內雞蛋短缺的問題,才協助長期旅居國外的「妹妹先生的表妹」進口雞蛋,卻未料被捲入爭議。他無奈地說:「當時國家缺蛋,我是好心幫忙從國外叫蛋,卻被罰了1000多萬,甚至被拖進刑事訴訟,說真的,我是為了愛國才這樣做,沒想到卻倒了八輩子霉。」

王朝輝表示,目前超思案仍在司法程序中,他希望能還自己清白,也強調自己從未做過違法的事情。他說:「那些名嘴把我拽進事件裡,讓我心力交瘁,但我相信司法會給我一個公道。」

雖然王朝輝再三強調自己與南西店無直接關係,但診所的統一品牌形象,仍讓外界質疑其管理機制是否出現問題。針對這點,光澤診所表示,會積極檢討內部的醫療操作與應變流程,確保未來能避免類似悲劇再次發生。

此外,衛福部與衛生局也已介入調查,釐清此次意外的責任歸屬。外界期待司法單位儘速調查真相,給予逝者及家屬一個交代,並進一步加強對醫美診所的監管,保障民眾就醫安全。

王朝輝最後重申:「光澤診所各分店皆獨立經營,南西分店的情況我無入股且吳醫師也已經委任律師,不再多做回應。」

檢調偵辦超思雞蛋弊案中,王朝輝列被告被約談,他經檢察官複訊後請回。張欽攝
檢調偵辦超思雞蛋弊案中,王朝輝列被告被約談,他經檢察官複訊後請回。張欽攝
作者簡介

黃泓哲

曾在網路媒體任職,從體育新聞起步,因熱衷追蹤全球醫療大小事,用簡單的文字分享艱澀的醫藥專題,用溫暖的話語在白色巨塔中說真相,專注撰寫醫學、護理、藥品、長照、教育、疾病等相關專題。 To be a journalist is to care deeply for people; to be a good journalist is to turn that care into the pursuit of solutions.


點擊閱讀下一則新聞 點擊閱讀下一則新聞
台鐵變「神隱少女海上列車」畫面曝!大雨水淹車尾看不到軌面