該筆土地位於歸仁高鐵大道、高鐵七路與高鐵五路口,面積1942.67坪,土地為武東段401地號,標售底價9億2742萬9412 元,換算每坪地價47.73萬元。

今日下午開標吸引福裕與春福建設搶標,最終福裕以單坪53.47萬元、總價10億3890萬元購入,換算每坪地價53.47萬元,打破歸仁高鐵特區地價新高,另家投標春福建設投標金額則為9億3188萬9999元。

今日開標會場。讀者提供
今日開標會場。讀者提供

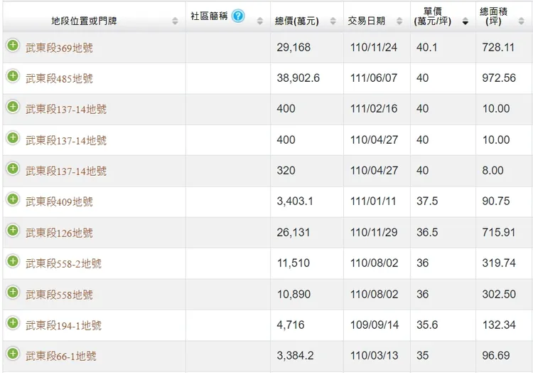
目前歸仁高鐵特區實登揭露區段最貴地價每坪僅40.1萬元,此次福裕單坪53.47萬元購地,地價拉高33.3%。

該標售為福裕被清景麟入主後首次購地,福裕董事長林聰麟表示,未來將興建地上15樓大樓,社區258戶,坪數24-33坪,單案總銷35億元,預計將在明年928檔期推出,每坪房價成交均價將落在35萬元,將採預售方式推出。

實登揭露區段目前最高地價每坪4字頭。
實登揭露區段目前最高地價每坪4字頭。

台南歸仁高鐵特區近年來房價出現大幅上揚,從早期也就是2020年達麗建設推出大樓預售案「國家強棒」,當時成交每坪落在1字頭末到2字頭出,到遠雄推出大樓預售案「明日讚」出現千人搶購被公平會開罰,該案成交均價落在25萬元,而今年進場銷售「佳順大順」每坪成交房價落在30-32萬元、春福建設大樓預售案「春福天駅」,單坪最高35萬元,未來福裕推案若要挑戰35萬元成交,勢必將改寫區段房價新高。

台慶不動產台南六甲頂加盟店店東周俊良指出,歸仁高鐵特區因被中央定位打造成「沙崙智慧綠能科學城」,因此房價出現大幅上揚,不到3年新屋從1字頭到3字頭,然而若未來要挑戰單坪35萬元行情,等於目前南市二環市郊如安南區新屋價,在近期房市買氣下滑要創價有一定難度,但建商高價購地轉嫁成本並不意外。

 

 

作者簡介

葉家銘

2012年起擔任地產記者,採訪範圍遍及雲嘉南高屏澎,經歷台灣房市高峰與低谷時期,長期鑽研房地產相關數據。