該筆地建物地坪189.57坪,建案544.69坪,區段屬具高容積商4用地,建物分成兩建築,分別有地上3樓屋齡51年透天及屋齡38年地上6樓透天。區段距離中央公園僅100公尺,周邊有捷運中央公園站,大立百貨與漢神本館等,針對此次購入地建物,國揚集團表示,資產確實為公司所購入,短期並無開發時程,而因建物屬老舊建築,將朝向危老都更推動。
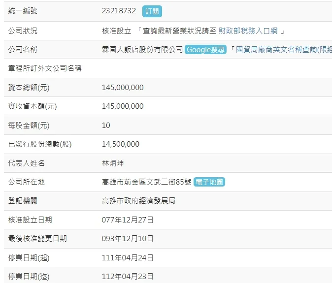
該筆資產前任所有權人登記為「霖園大飯店」,但據了解「霖園大飯店」與國泰集團已沒任何關係,針對該筆資產未來若整合興建大樓,富住通商用不動產研展部主任許值瑋表示,區段屬大立漢神百貨商圈,以鄰近銷售案目前房價站上4字頭行情,甚至開始挑戰5字頭成交,然而其開發時間點未定,加上土地面積過小,可能持續整合周鄰地與建築,為公司中長期推案佈局。

爆料信箱:news@nextapple.com
★加入《壹蘋》Line,和我們做好友!
★下載《壹蘋新聞網》APP
★Facebook 按讚追蹤