李易峰爆出上月19日因涉嫌嫖娼被抓,直到9月2日才被放出來。他昨發長文否認:「一個公眾人物是如何做到憑空消失15天的?一個公開透明的法制時代,誰有本事逃脫違法的後果?」李易峰工作室也發聲明,強調「網路上有關李易峰先生個人生活的言論均嚴重不實」,否認嫖娼疑雲。但聲明發出沒多久就「被消失」,更讓傳言甚囂塵上。

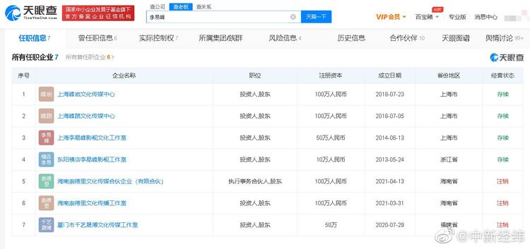
李易峰嫖妓被證實後,網友查詢他的商業版圖,和李易峰有關聯的7家企業,其中4家為存續狀態,包括上海峰岩文化傳媒中心、上海峰路文化傳媒中心、上海李易峰影視文化工作室、東陽橫店李易峰影視工作室,上述4家均為他個人獨資。其他3家企業,廈門市千藝晟博文化傳媒工作室註銷於3月15日,海南崇德里文化傳播工作室、海南崇德里文化傳媒合夥企業於4月12日同天註銷。

此外,有多家品牌陸續宣布與他終止合作,目前已累積13家,巴黎萊雅在微博留言區表示,與李易峰的合作在今年7月就已到期,然而13家品牌中,PRADA找的代言人近來風波不斷,除兩位韓國品牌大使,包括Red Velvet成員「Irene」被爆私下辱罵工作人員錄音曝光,及EXO成員「燦烈」遭前女友爆出交往期間劈腿私生活醜聞,接著換中國代言人鄭爽爆出代孕棄養醜聞,PRADA果斷宣布和中國女星鄭爽終止合作關係,發出聲明後股價立刻回升,如今新代言人李易峰又出事,下次選代言人須得更加小心。

壹蘋娛樂粉專:https://www.facebook.com/nextapple.entertainment 壹蘋新聞網粉專:https://www.facebook.com/nextapplenews.tw

李易峰代言中,品牌真果粒率先發出聲明切割。翻攝真果粒微博
李易峰代言中,品牌真果粒率先發出聲明切割。翻攝真果粒微博
PRADA新代言人李易峰也出事。翻攝PRADA微博
PRADA新代言人李易峰也出事。翻攝PRADA微博
品牌沛納海也終止和李易峰的合作。翻攝沛納海微博
品牌沛納海也終止和李易峰的合作。翻攝沛納海微博
李易峰昨寫長文否認。翻攝李易峰微博
李易峰昨寫長文否認。翻攝李易峰微博
和李易峰有關聯的3家企業顯示已註銷。翻攝微博
和李易峰有關聯的3家企業顯示已註銷。翻攝微博
和李易峰切割的品牌陸續增加中。翻攝RemyMartin微博
和李易峰切割的品牌陸續增加中。翻攝RemyMartin微博